Product Introduction

The Unite U-FB-G series high-temperature gas-solid separation filter,equipped with metal filter elements, can be customized according tocustomer processes for various applications, including high-temperaturegas dust removal, silicon powder filtration in new energy applications,and high-temperature and high-pressure coal gas filtration. The metalmembrane filter elements offer unique performance for gas-solidseparation, with absolute precision and excellent uniform permeabilityensuring reliable filtration performance, effective backwashingregeneration capabilities, and a long service life.

Product Advantages

  • Stable separation under extremely high temperatures
  • Efficient particulate removal in hot gas
  • Protects downstream equipment from erosion
  • Maintains process continuity at high temperature
  • Suitable for harsh industrial process environments
  • Reduces high temperature dust emissions

Product Highlights

High-Temperature Gas-Solid Separation System is designed for efficientparticulate removal from high-temperature gas streams. It ensures stable
operation under extreme conditions, protects downstream equipment,reduces dust emissions, and improves overall process reliability in harshindustrial environments.
Product Highlights

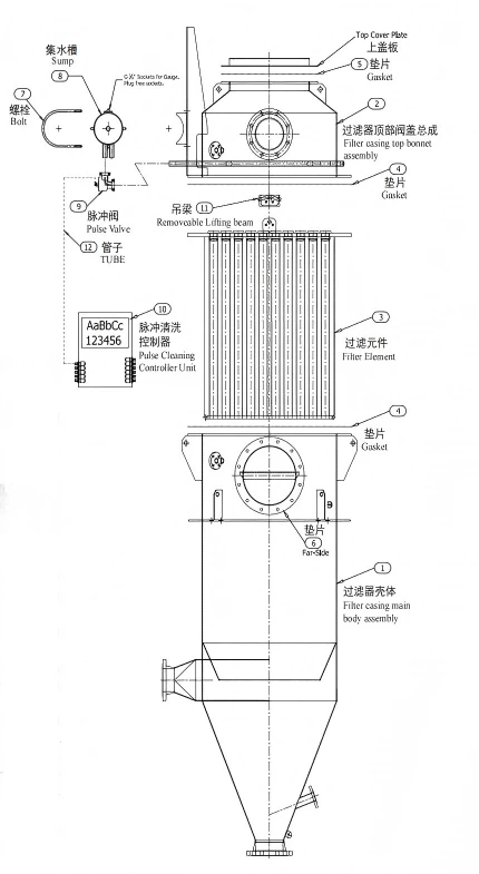
Technical System

Parameter Table

参数 Parameter FC-G-426 FC-G-530 FC-G-550 FC-G-600 FC-G-650 FC-G-700 FC-G-800 FC-G-900 FC-G-1000 FC-G-1200 FC-G-1400 FC-G-1400(重复列,原表如此) FC-G-1800
滤芯规格 Filter Spec L=1000 L=1000 L=1000 L=1000 L=1000 L=1000 L=1000 L=1500 L=1500 L=1500 L=2000 L=2000 L=2000
容积 Volume 0.26 0.42 0.52 0.63 0.73 0.87 1.2 2.0 2.6 3.93 6.69 9.27 12.4
重量 KG Weight ~350 ~500 ~560 ~620 ~800 ~950 ~1250 ~1600 ~2200 ~3100 ~5000 ~7000 ~9300
φD(mm) 406 508 550 600 650 700 800 900 1000 1200 1400 1600 1800
H(mm) ~2530 ~2700 ~2900 ~2980 ~3015 ~3035 ~3250 ~4100 ~4250 ~4650 ~5630 ~6000 ~6300
H1(mm) 2250 2350 2550 2650 2650 2650 2800 3500 3650 4050 4850 5200 5400
H2(mm) 1300 1500 1800 1800 2000 2000 2100 2200 2500 2800 3500 3800 4000
H3(mm) 800 900 950 1000 1050 1050 1150 1250 1350 1600 1780 2000 2050
H4(mm) 350 400 400 450 450 450 450 500 500 600 600 600 600
L1(mm) 330 380 410 450 475 500 550 620 670 780 880 980 1080
L2(mm) ~700 ~800 ~800 ~800 ~825 ~850 ~1000 ~1050 ~1100 ~1200 ~1300 ~1400 ~1500
L3(mm) ~620 ~720 ~750  

Operating Standards

  • Working temperature: G2-1 maximum working temperature: 500 °C, G2-2 maximum working temperature: 980 °C.
  • Working pressure: 0 - 10.0 MPa.
  • Grouped backwash device, effectively improving the efficiency when combined with accessories such as distribution services diverter valve, nozzle.
  • Full automatic operation, remotely controllable when accompanied with PLC control system.

Product Images

Satisfied Customers Worldwide

Unite Co., Ltd.

Tell Us Your Requirements

For more information about our filtration and separation equipment, including customized solutions and technical support, please feel free to contact us.
Download Products Brochure

Contact us

This site uses cookies

We use cookies to collect information about how you use this site. We use this information to make the website work as well as possible and improve our services.more details