Product Introduction

The Unite U-FB-G series high-temperature gas-solid separation filter,equipped with metal filter elements, can be customized according tocustomer processes for various applications, including high-temperaturegas dust removal, silicon powder filtration in new energy applications,and high-temperature and high-pressure coal gas filtration. The metalmembrane filter elements offer unique performance for gas-solidseparation, with absolute precision and excellent uniform permeabilityensuring reliable filtration performance, effective backwashingregeneration capabilities, and a long service life.

Product Advantages

  • Stable separation under extremely high temperatures
  • Efficient particulate removal in hot gas
  • Protects downstream equipment from erosion
  • Maintains process continuity at high temperature
  • Suitable for harsh industrial process environments
  • Reduces high temperature dust emissions

Product Highlights

1. Exceptional High-Temperature Resistance and Thermal Shock Stability
Adaptability to Extreme Environments: The system is capable of operating stably over extended periods in high-temperature environments ranging from 400°C to 1000°C (or even higher) without undergoing deformation or structural failure.

2. High-Precision Filtration and Separation Efficiency
Sub-Micron Particle Capture: Capable of effectively removing fine dust particles with diameters smaller than 1μm from gas streams; outlet dust concentrations can be reduced to as low as 5 mg/Nm³—or even below 1 mg/Nm³—thereby meeting stringent environmental protection and emission reduction standards.

3. High Integration and Intelligent Control
Modular Design: Featuring a compact structure and a small footprint, the system allows for flexible scalability (via parallel modular expansion) to accommodate varying gas processing volumes.

4. Significant Economic and Environmental Benefits
Resource Recovery: Capable of efficiently recovering valuable dust particles (such as precious metal catalysts or chemical raw materials) from high-temperature flue gas, thereby generating direct economic returns.

Product Highlights

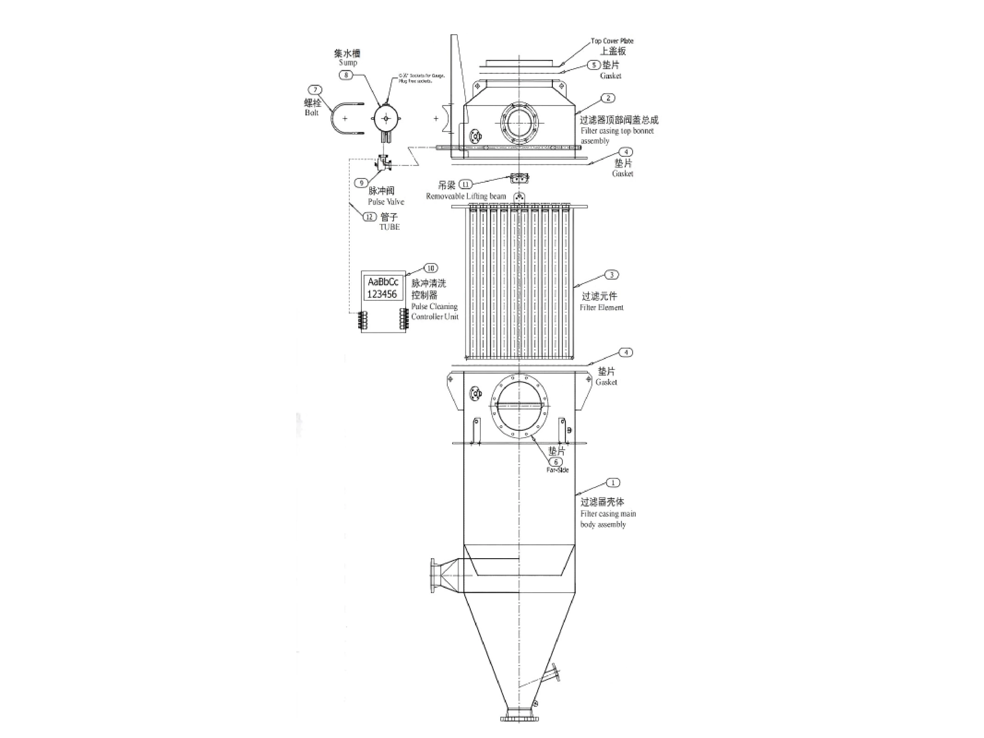
Technical System

Parameter Table

Parameter FC-G-426 FC-G-530 FC-G-550 FC-G-600 FC-G-650 FC-G-700 FC-G-800 FC-G-900 FC-G-1000 FC-G-1200 FC-G-1400 FC-G-1600 FC-G-1800
Filter Spec L=1000 L=1000 L=1000 L=1000 L=1000 L=1000 L=1000 L=1500 L=1500 L=1500 L=2000 L=2000 L=2000
Volume 0.26 0.42 0.52 0.63 0.73 0.87 1.2 2.0 2.6 3.93 6.69 9.27 12.4
Weight (KG) 350 500 560 620 800 950 1250 1600 2200 3100 5000 7000 9300
φD(mm) 406 508 550 600 650 700 800 900 1000 1200 1400 1600 1800
H(mm) 2530 2700 2900 2980 3015 3035 3250 4100 4250 4650 5630 6000 6300
H1(mm) 2250 2350 2550 2650 2650 2650 2800 3500 3650 4050 4850 5200 5400
H2(mm) 1300 1500 1800 1800 2000 2000 2100 2200 2500 2800 3500 3800 4000
H3(mm) 800 900 950 1000 1050 1050 1150 1250 1350 1600 1780 2000 2050
H4(mm) 350 400 400 450 450 450 450 500 500 600 600 600 600
L1(mm) 330 380 410 450 475 500 550 620 670 780 880 980 1080
L2(mm) 700 800 800 800 825 850 1000 1050 1100 1200 1300 1400 1500
L3(mm) 620 720 750 800 950 1000 1100 1250 1350 1550 1950 2150 2350
Pressure Gauge Port CL / 1/4" Male Thread / M20×1.5 Male Thread (With Ball Valve and Pressure Gauge)

Operating Standards

  • Working temperature: G2-1 maximum working temperature: 500 °C, G2-2 maximum working temperature: 980 °C.
  • Working pressure: 0 - 10.0 MPa.
  • Grouped backwash device, effectively improving the efficiency when combined with accessories such as distribution services diverter valve, nozzle.
  • Full automatic operation, remotely controllable when accompanied with PLC control system.

Product Images

Success Stories

Ashland Project: Precision HCl Filtration System for Specialty Chemical Lines

Ashland Project: Precision HCl Filtration System for Specialty Chemical Lines

Deeply customized precision filtration solutions, featuring advancedanti-corrosive materials and hermetic design, ensure high-purity synthesis andprocess safety for Ashland’s corrosive HCl media.

Jiangxi Salt Chemical Project: Automatic Candle Filters Completed for 55,000t/y Calcium Sulfate Project

Jiangxi Salt Chemical Project: Automatic Candle Filters Completed for 55,000t/y Calcium Sulfate Project

A high-capacity automated candle filtration system optimizes calciumsulfate production by maximizing resource recovery and product purity.

Formosa Plastics Group Project: Large-scale Industrial Activated Carbon Filtration and Adsorption System

Formosa Plastics Group Project: Large-scale Industrial Activated Carbon Filtration and Adsorption System

Integrated activated carbon filtration solutions effectively removeorganics and residual chlorine, ensuring high-purity process water andprotecting downstream membrane systems.

Satisfied Customers Worldwide

UNITE

Tell Us Your Requirements

For more information about our filtration and separation equipment, including customized solutions and technical support, please feel free to contact us.
Download Products Brochure

Contact us

This site uses cookies

We use cookies to collect information about how you use this site. We use this information to make the website work as well as possible and improve our services.more details